On a découvert la start-up Magic Leap au mois d’octobre dernier, lors des premières rumeurs faisant état de son rachat par Google… Qui y a cependant investi plus d’un demi-milliard de dollars. Depuis, le mystère restait entier sur la capacité de cette société a révolutionner la réalité augmentée, comme elle le prétend sur son site. Mais un volumineux brevet, validé la semaine dernière par l’US Patent and Trademark Office, nous a carrément bluffé avec ses dessins surréalistes qui nous projettent dans un monde… futuriste.
Celui-ci d’écrit d’abord la technologie optique de Magic Leap, qui s’appuie sur un guide d’ondes optiques planaires pour orienter la lumière et créer des plans focaux. Des termes complexes qui décrivent un moyen de faire surgir des images virtuelles de façon réaliste dans le monde réel, à des endroits précis dans l’espace, en fonction de ce que regarde l’utilisateur.
On découvre aussi dans ce brevet le dispositif d’affichage, qui se composerait d’un casque somme toute assez léger.
Mais on découvre surtout, avec force dessins et explications techniques, de nombreux scénarios d’usage de la technologie. Et Motion Leap prévoit aussi bien des applications commerciales, médicales, sportives que de loisirs. En voici des exemples.
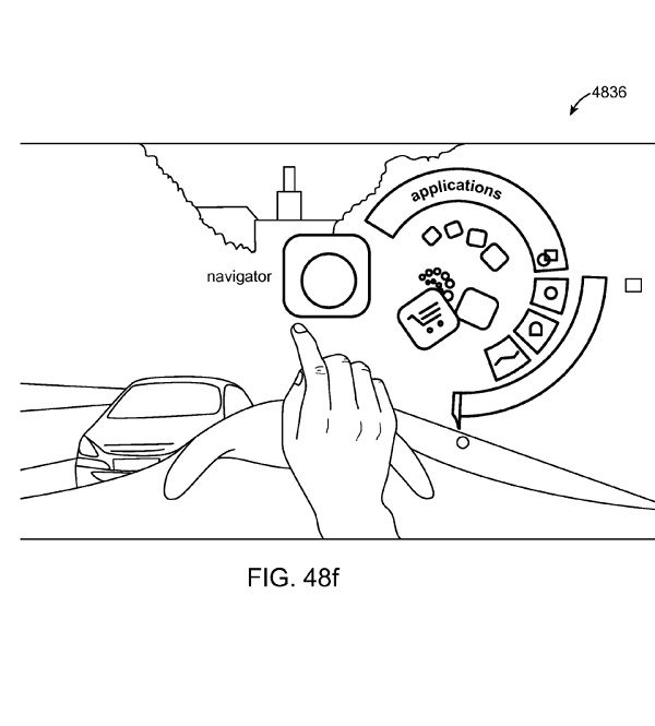
Lunettes Magic Leap sur la tête, il serait d’abord possible d’interagir de façon naturelle avec la machine. Le brevet imagine divers gestes qui permettent d’effectuer un copier coller, d’appeler des menus contextuels, etc.

Magic Leap imagine une foule de nouvelles interfaces homme-machine profitant de sa technologie. Ici, un exemple d’affichage tête haute, avec lequel on interagirait avec la main, qui pourrait être utilisé en voiture.

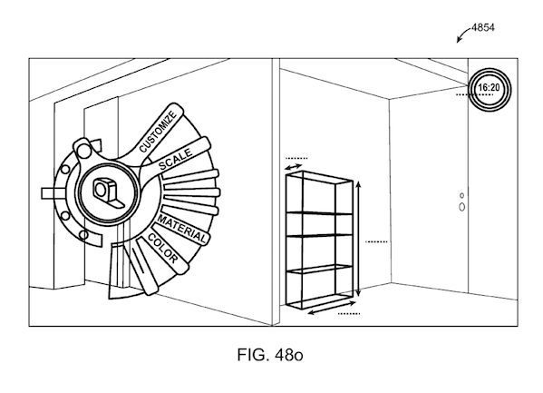
L’utilisateur pourra afficher une image 3D qui collera à la réalité. Ici, Magic Leap imagine une application qui permet de visualiser le positionnement d’une armoire dans une pièce, avec à gauche, une interface permettant de la modifier à l’envi.

Notre main pourrait aussi servir d’interface graphique, d’écran : ici on aperçoit des icônes d’applis populaires, qui s’affichent sur nos doigts, transformés en… menus !

On peut aussi imaginer un bureau augmenté, où l’on pourrait travailler sur de multiples écrans virtuels.

Le brevet imagine aussi un salon où les écrans seraient virtuels, générés par les lunettes à réalité augmentée, et avec lesquels on pourrait interagir par le geste.

Même faire ses courses deviendra une expérience à réalité augmentée. Votre chariot pourrait afficher des promotions, le plan du magasin…

La réalité augmentée pourrait aussi être utile aux chirurgiens.

Des applications dans le domaine, du sport, du fitness ou même de la relaxation sont imaginables :

Source : USPTO
A lire aussi :
La mystérieuse start-up Magic Leap intéresse aussi Qualcomm… et Hollywood 21/10/2014
👉🏻 Suivez l’actualité tech en temps réel : ajoutez 01net à vos sources sur Google, et abonnez-vous à notre canal WhatsApp.

