A peine les iPhone 6 et 6 Plus sont-ils sortis que le Net bruisse de rumeurs autour du prochain smartphone d’Apple. Ainsi, John Gruber, blogueur américain en général bien informé sur Apple, déclare que le prochain saut technologique d’Apple concernera l’appareil photo des iPhone.
Selon une de ses sources, le capteur arrière des smartphones pourrait « embarquer un système à deux lentilles qui produirait des clichés à la qualité équivalente de ceux d’un appareil reflex ».
Des systèmes à double objectif existent déjà, sur le HTC One M8 par exemple. Mais ce qui rend l’information de John Gruber crédible est sans doute la dernière annonce de Sony, fournisseur entre autres d’Apple, sur son prochain capteur de 21 Mpix baptisé IMX230. Destiné aux smartphones haut de gamme, il leur permettra de faire une mise au point quasi instantanée et permettrait d’obtenir des clichés de haute qualité.

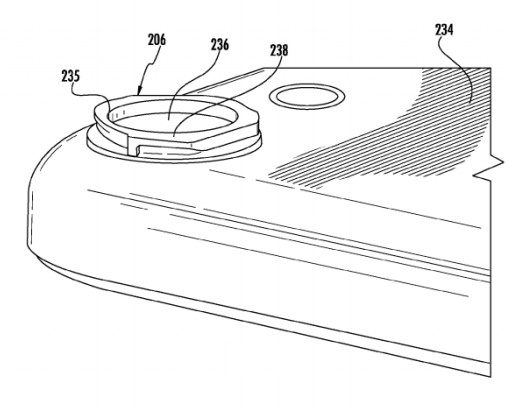
Apple pourrait aussi explorer une autre voie : celle des objectifs interchangeables. La firme de Cupertino a en effet déposé un brevet en avril dernier concernant une technologie permettant d’accrocher de petits objectifs fixes à la caméra arrière d’un iPhone.
Sources : blog de John Gruber et The Tech Blog
👉🏻 Suivez l’actualité tech en temps réel : ajoutez 01net à vos sources sur Google, et abonnez-vous à notre canal WhatsApp.

