Les portables d’Apple n’ont pas à rougir pour ce qui est de l’autonomie. Le travail d’optimisation entre matériel et logiciel effectué par les ingénieurs du géant américain est assez remarquable. Mais la firme californienne semble vouloir aller plus loin et vous permettre de ne pas recharger votre ordinateur portable pendant « des jours, voire des semaines ».
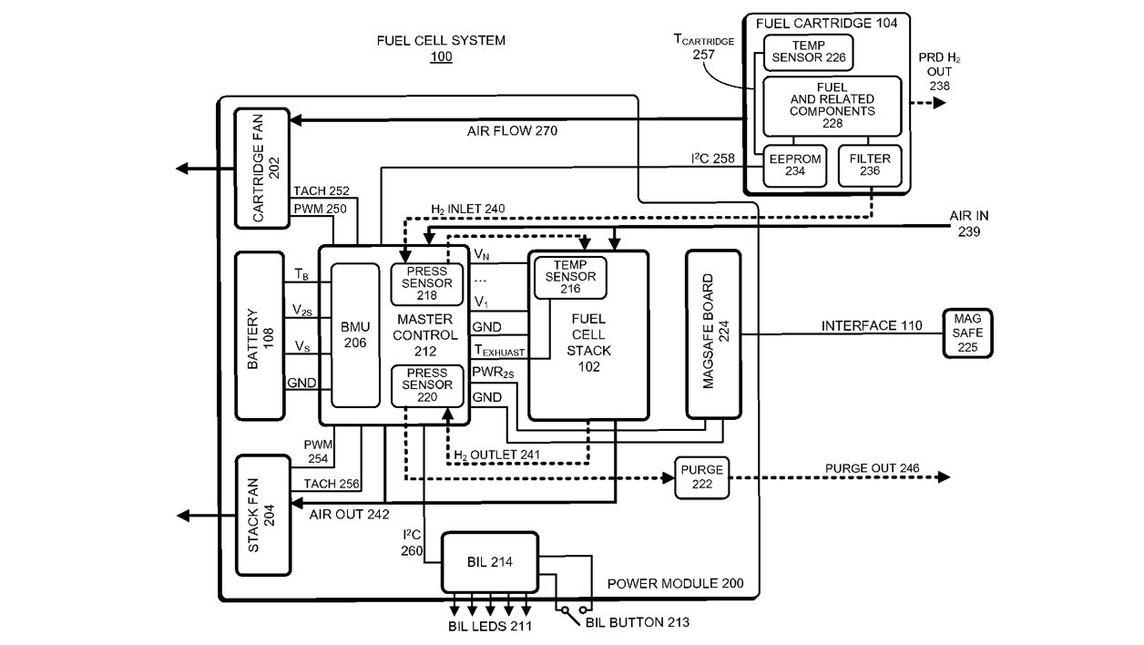
C’est en tout cas ce que décrit un brevet qui a été publié, hier, par le site du Bureau des brevets américains. Le document détaille un « Système de pile à combustible qui alimente un ordinateur portable ». La société de Tim Cook semble avoir trouvé un moyen d’associer ce type de batterie à un appareil portable sans ajouter beaucoup de poids. Les piles à combustible ont pour elles de pouvoir stocker beaucoup d’énergie sans être trop encombrantes, en comparaison d’une batterie classique. Mais comme l’indique le brevet : « il est extrêmement difficile de concevoir des systèmes à pile à combustible à hydrogène qui soient suffisamment portables et économiquement viables pour être utilisés dans des appareils électroniques. »

Evidemment si elles peuvent tenir longtemps, vient un moment où les piles à combustible ont besoin d’être rechargées, elles aussi. Le brevet d’Apple indique que la cartouche contenant le combustible pourrait être indépendante du système de cellules, ce qui permettrait de n’ôter qu’une partie de l’équipement pour le remplacer.
Si les piles de ce genre utilisent généralement de l’hydrogène (et de l’oxygène), le brevet d’Apple montre qu’il pourrait utiliser d’autres composés chimiques, comme le borohydrure de sodium, du silicate de sodium ou encore de l’hydrure de lithium, tous étant associés à de l’eau, qui sert d’agent à la réaction qui produit l’électricité.
Il est possible que cette nouvelle méthode d’alimentation cohabite dans un premier temps avec les batteries classiques. Le brevet révèle en effet que l’électricité générée peut également être « envoyée vers une batterie interne rechargeable, configurée pour stocker l’excédent d’énergie produit par la pile à combustible ». Les ingénieurs d’Apple citent également d’autres moyens de stockage de l’électricité vers lesquels pourrait être expédiée cette production d’énergie, comme des super condensateurs ou des condensateurs lithium ion.
Il y a quelques semaines, Intelligent Energy, une société britannique, qui travaille en étroite collaboration avec Apple, avait réussi à produire un prototype d’iPhone 6 – identique en taille à un modèle commercial bien qu’il embarque une pile – qui a fonctionné pendant une semaine avec une seule charge de batterie à hydrogène.
Sur ce premier appareil, la recharge se faisait via la prise casque, mais une trappe d’accès était envisagée par Intelligent Energy. Apple, qui s’affirme de plus en plus préoccupé par les questions écologiques, pourraient avoir un rôle capital dans l’introduction de ces nouvelles batteries plus vertes.
Sources :
Brevet d’Apple via Cnet US
👉🏻 Suivez l’actualité tech en temps réel : ajoutez 01net à vos sources sur Google, et abonnez-vous à notre canal WhatsApp.

