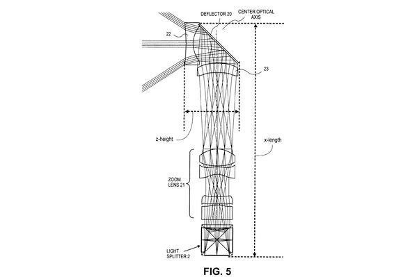
Régulièrement, d’année en année, Apple améliore l’appareil photo intégré à l’iPhone. Aujourd’hui, Apple Insider a mis la main sur un brevet qui vient d’être attribué à la société de Tim Cook. Ce document décrit « un appareil photo numérique avec un diviseur de lumière ». Diviser la lumière, au travers d’un prisme, permet de la renvoyer sous trois longueurs d’onde différentes sur trois capteurs. Il s’agit généralement de capteurs dédiés au traitement des rouges, verts et bleus.
Dans son brevet, Apple décrit une disposition en cube, qui utilise quatre polyèdres identiques qui se touchent en une interface dichroïque, c’est-à-dire l’endroit qui permet de séparer un faisceau de lumière en plusieurs rayons de couleurs différentes. Et la firme de Cupertino n’entend pas se limiter au rouge, vert et bleu. Elle indique que le diviseur de lumière pourrait permettre d’obtenir plus de couleurs, comme le cyan, jaune, vert et magenta ou le rouge, vert, bleu et émeraude, pour des couleurs plus fines.

La division du faisceau lumineux grâce à des prismes a pour avantage d’éviter à l’appareil d’avoir à reconstruire les couleurs d’une image à partie de données incomplètes récoltées par un capteur doté d’un filtre matriciel. Cela permet un rendu des couleurs plus réalistes et également de mieux gérer les prises de vue en basse lumière. Cette technologie est loin d’être une nouveauté, elle est d’ailleurs intégrée dans des caméscopes depuis longtemps déjà. En revanche, l’enjeu ici est de réussir à faire tenir ce système dans le boîtier assez fin d’un appareil mobile.

Ce brevet a été déposé en 2011 et rien ne dit que cette technologie sera utilisée dans les prochains iPhone, pour autant, Apple s’échine à faire en sorte que son smartphone reste, au global, parmi les meilleurs appareils photos mobiles, si ce n’est le meilleur.
Les iPhone figurent depuis quelques années parmi les appareils photos les plus populaires au monde. Pour ceux qui douteraient de l’importance que revêt cette fonction aux yeux d’Apple, il suffit de jeter un œil à la campagne mondiale et à la galerie organisées par le géant américain pour mettre en avant les photos réalisées avec ses smartphones.
A lire aussi :
Photo : que valent les Samsung Galaxy S6 et LG G Glex 2 face à l’iPhone 6 Plus – 24/03/2015
Source :
Brevet d’Apple via Apple Insider
👉🏻 Suivez l’actualité tech en temps réel : ajoutez 01net à vos sources sur Google, et abonnez-vous à notre canal WhatsApp.

