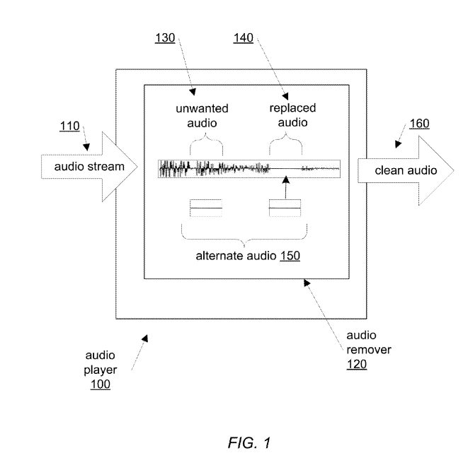
Un nouvel esprit de censure rôde dans les locaux d’Apple. La firme de Cupertino vient de déposer un brevet pour un système capable de supprimer à la volée les mots grossiers dans un morceau de musique ou un livre audio. A la place des éventuels jurons détectés, le système peut placer un « bip », un silence ou – plus subtile – « un son alternatif avec par exemple des paroles non-explicites », peut-on lire dans le document.
Mieux : la censure pourrait se faire en fonction de la localisation de l’écoute. Ainsi, les parents pourraient faire en sorte que leur foyer familial soit toujours exempt de paroles choquantes.

Pour réaliser cette censure à la volée, le système s’appuierait sur des métadonnées qui viennent indiquer les emplacements à supprimer ou remplacer, mais aussi sur des fonctions de reconnaissance en temps réel.
Comme pour tous les brevets, on ne sait pas si Apple compte réellement mettre en œuvre un tel système. Mais cela ne serait pas étonnant, compte tenu de l’attitude pudibonde que la firme démontre parfois.
Source:
👉🏻 Suivez l’actualité tech en temps réel : ajoutez 01net à vos sources sur Google, et abonnez-vous à notre canal WhatsApp.


