Sans détour, le Xbox Elite Wireless Controler est notre manette de jeu préférée sur console et PC à ce jour. Aussi, lorsque le United States Patent and Trademark Office (Bureau américain de dépôts des brevets) publie des documents montrant ce que pourrait être la prochaine manette de Microsoft, l’eau nous monte à la bouche !
Des emplacements pour gâchettes amovibles et d’autres équipements
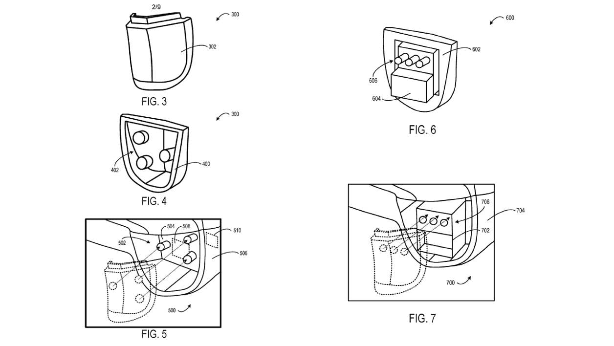
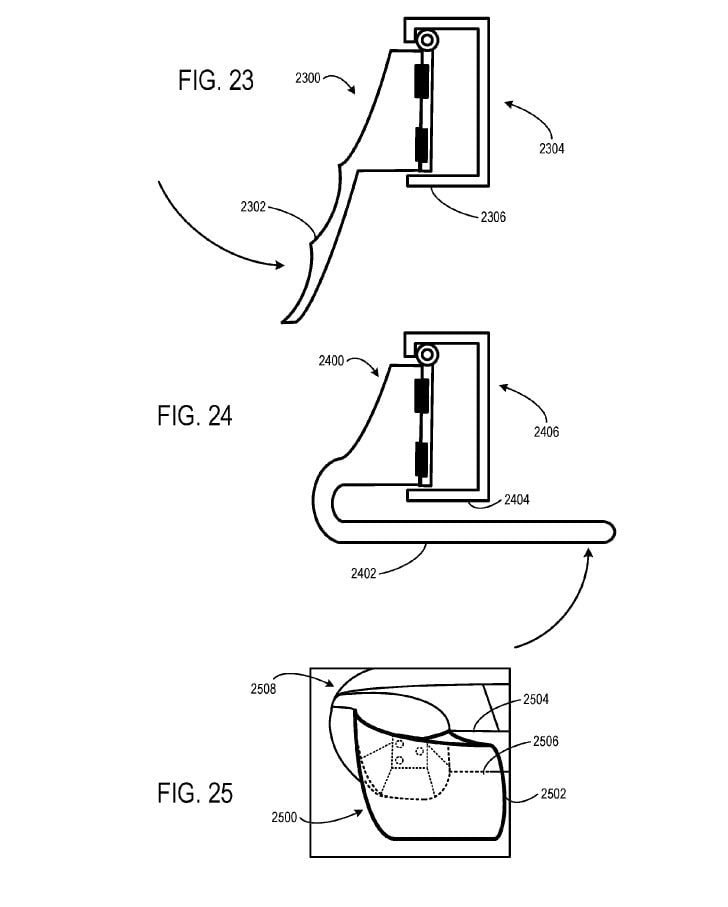
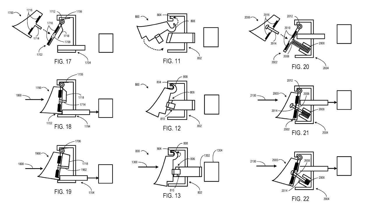
C’est le site américain Windows Central qui a repéré ces nouveaux schémas, déposés par Microsoft en mars dernier et rendu public le 15 décembre seulement. On y voit clairement une manette Xbox One, pourvue de tout un éventail de nouvelles subtilités ergonomiques et fonctionnelles comme des gâchettes amovibles, dont on pourrait – en plus – régler la longueur de course par exemple.

Les schémas montrent clairement différents types de fixations pensées pour accueillir des gâchettes arrières de forme variée, certaines aimantées et d’autres vissées dans la structure de la manette.

En prenant connaissance des légendes, on s’aperçoit aussi qu’une solution à base de capteur évaluant, par le biais d’un champ magnétique, la pression précise exercée serait également envisagée. Utile pour doser l’accélération dans un jeu de voiture par exemple.
En outre, d’autres équipements pourraient tout à fait être placés à la place des gâchettes pour peu qu’ils utilisent la même interface de connexion. Le document mentionne des haut-parleurs, des gyroscopes et même de petits modules de refroidissement.

Enfin, le document mentionne aussi la possibilité de changer les joysticks de la manette mais il semble, en revanche, que la présence des palettes situées sur la face inférieure (comme sur le Controller Elite) ne soit plus à l’ordre du jour sur cette version-ci. En tout cas, mieux vaut ne pas trop tirer de plans sur la comète ! Car, les dépôts de brevets sont généralement plus un moyen de sécuriser des idées ou des projets, qu’une assurance de mise en production à plus ou moins court terme. Dommage, une telle manette ne jurerait pas à côté de la Xbox One… ou même de la Scorpio, la future mise à jour ultrapuissante de la console de Microsoft.
👉🏻 Suivez l’actualité tech en temps réel : ajoutez 01net à vos sources sur Google, et abonnez-vous à notre canal WhatsApp.

