Andromeda et Surface Phone : deux noms qui reviennent souvent quand on évoque les projets de smartphones chez Microsoft. L’éditeur va-t-il revenir sur le marché du mobile ? Rien n’est moins sûr mais des brevets existent et le dernier publié dans ce domaine se révèle plutôt étonnant car il montre un appareil pliable doté de deux écrans.

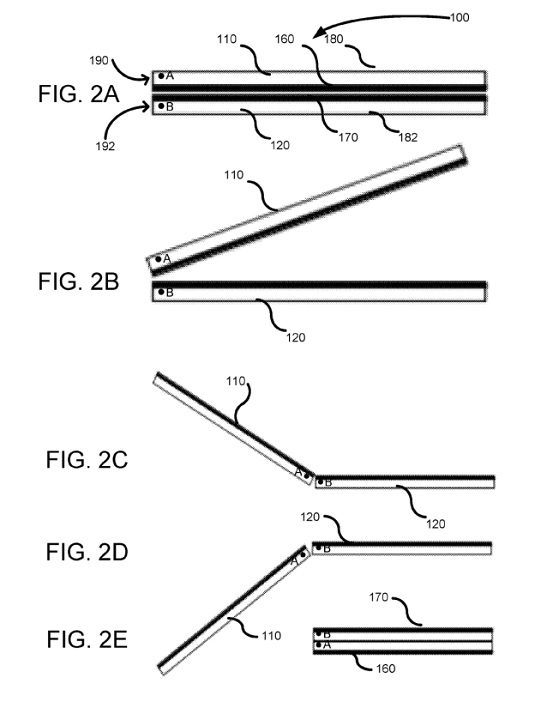
L’objectif est simple : augmenter la surface d’affichage en conservant un boîtier de taille raisonnable. Pour cela, il est possible de réduire au maximum les bordures d’écran mais cela ne suffit pas. D’où l’idée de concevoir un système pliable à deux écrans. Le brevet de Microsoft va même plus loin puisque le système de charnière permet de ne pas avoir d’interstice entre les deux parties pour donner l’impression d’un écran unique de grande taille, mais aussi d’offrir une rotation à 360 degrés.

On imagine que le smartphone peut se fermer dans un sens, pour protéger ses écrans lors du transport, mais aussi dans l’autre pour que l’affichage reste visible, l’ensemble conservant des dimensions réduites. Le designer David Breyer s’est inspiré de ces concepts pour créer des rendus de ce que pourrait être le smartphone et le résultat est plutôt séduisant.
https://twitter.com/D_Breyer/status/942758866818928640
En attendant, d’autres constructeurs travaillent également sur des smartphones pliables. ZTE a lancé l’Axon M en octobre dernier et Samsung préparerait son propre modèle pour 2018.
Source : Windows Latest
👉🏻 Suivez l’actualité tech en temps réel : ajoutez 01net à vos sources sur Google, et abonnez-vous à notre canal WhatsApp.

